CẨU GẤP KHÚC 6 TẤN PALFINGER PK 15500
Chuyên bán và cung cấp cẩu gấp khtúc ( Cẩu gập, cẩu đập chuột) hãng Palfinger tải trọng 1 tấn, 3 tấn, 5 tấn, 6 tấn, 7 tấn, 8 tấn, 10 tấn, 12 tấn, 14 tấn, 20 tấn....Hãng sản xuất CH Áo. Cẩu gập palfinger PK 15500 nằm trong phân khúc cẩu nhỏ của Palfinger, cẩu có thể cẩu được những máy móc hạng nhẹ hay những cấu kiện hạng nặng một cách dễ dàng. Nhờ nhiều năm kinh nghiệm và những bí quyết của Palfinger mọi công việc nâng hạ trở nên dễ dàng hơn bao giờ hết. Cẩu gấp khúc robot Palfinger có sức nâng lên tới 6200 kg, tầm với thủy lực đạt được lên tới 14,3 m và tầm với cơ khí có thể đạt 18,4 m. Hiện nay các dòng cẩu gập đang rất được ưa chuộng tại thị trường Việt Nam nhờ những ưu điểm nổi bật của nó đó là kích thước nhỏ gọn, tự trọng thấp, chu trình cẩu nhanh gọn, có thể luồn lách vào những không gian hẹp. Chúng ta sẽ tìm hiểu xem thông số kỹ thuật của cẩu gấp Palfinger Pk 15500 có gì đặc biệt.
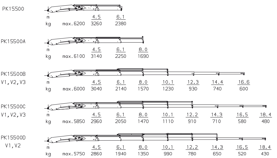
Cẩu gấp khúc Palfinger PK15500 có các model: tiêu chẩn, A, B, C, D.

ĐẶC TÍNH KỸ THUẬT CẨU GẤP PK 15500 6 TẤN
Thông số kỹ thuật cẩu gấp khúc bản tiêu chuẩn:
- Momen nâng lớn nhất: 14.6 m
- Sức nâng lớn nhất: 6200 kg
- Tầm với lớn nhất: 6.1 m
- Quay toa 420 độ.
- Momen xoắn 1.8 t.m
- Áp suất bơm 30 MPa
- Lưu lượng bơm: 40 - 60 lít/ phút
- Trọng lượng cẩu 1619 kg
- Chiều cao cẩu khi gập gọn 2200 mm
- Chiều rộng cẩu khi gập gọn 2500 mm
- Độ rộng nhỏ nhất khi lắp cẩu 810 mm
Thông số kỹ thuật cẩu Pk 15500 bản A:
- Momen nâng lớn nhất: 14.6 m
- Sức nâng lớn nhất: 6,1 tấn
- Tầm với lớn nhất: 8 m
- Sức nâng tại 4,5 m là 3140 kg, sức nâng tại 6,1 m là 2250 kg, sức nâng tại 8 m là 1690 kg.
- Quay toa 420 độ.
- Momen xoắn 1.8 t.m
- Áp suất bơm 30 MPa
- Lưu lượng bơm: 40 - 60 lít/ phút
- Trọng lượng cẩu 1619 kg
- Chiều cao cẩu khi gập gọn 2200 mm
- Chiều rộng cẩu khi gập gọn 2500 mm
- Độ rộng nhỏ nhất khi lắp cẩu 810 mm
Thông số kỹ thuật cẩu PK 15500 bản B:
- Momen nâng lớn nhất: 14.6 m
- Sức nâng lớn nhất: 6000 kg
- Tầm với lớn nhất thủy lưc: 10,1 m
- Tầm với lớn nhất cơ khí: 16,6 m
- Quay toa 420 độ.
- Momen xoắn 1.8 t.m
- Áp suất bơm 30 MPa
- Lưu lượng bơm: 40 - 60 lít/ phút
- Trọng lượng cẩu 1619 kg
- Chiều cao cẩu khi gập gọn 2200 mm
- Chiều rộng cẩu khi gập gọn 2500 mm
- Độ rộng nhỏ nhất khi lắp cẩu 810 mm
Thông số kỹ thuật cẩu PK 15500 bản C:
- Momen nâng lớn nhất: 14.6 m
- Sức nâng lớn nhất: 5850 kg
- Tầm với lớn nhất thủy lưc: 12,2 m
- Tầm với lớn nhất cơ khí: 18,4 m
- Quay toa 420 độ.
- Momen xoắn 1.8 t.m
- Áp suất bơm 30 MPa
- Lưu lượng bơm: 40 - 60 lít/ phút
- Trọng lượng cẩu 1619 kg
- Chiều cao cẩu khi gập gọn 2200 mm
- Chiều rộng cẩu khi gập gọn 2500 mm
- Độ rộng nhỏ nhất khi lắp cẩu 810 mm
Thông số kỹ thuật cẩu Palfinger PK 15500 bản D:
- Momen nâng lớn nhất: 14.6 m
- Sức nâng lớn nhất: 5750 kg
- Tầm với lớn nhất thủy lưc: 14,3 m
- Tầm với lớn nhất cơ khí: 18,4 m
- Quay toa 420 độ.
- Momen xoắn 1.8 t.m
- Áp suất bơm 30 MPa
- Lưu lượng bơm: 40 - 60 lít/ phút
- Trọng lượng cẩu 1619 kg
- Chiều cao cẩu khi gập gọn 2200 mm
- Chiều rộng cẩu khi gập gọn 2500 mm
- Độ rộng nhỏ nhất khi lắp cẩu 810 mm
BIỂU ĐỒ SỨC NÂNG TẦM VỚI CẨU GẬP 6 TẤN

BIỂU ĐỒ LÀM VIỆC CẨU PK 15500

KÍCH THƯỚC CẨU GẤP PK 15500

MỘT SỐ HÌNH ẢNH CẨU GẤP KHÚC PK 15500


GIAO HÀNG:
- Thời gian giao hàng: Trong vòng từ 1-90 ngày kể từ ngày hợp đồng có hiệu lực. Thời gian giao phụ thuộc vào cấu hình lựa chọn và thời điểm đặt hàng
- Địa điểm giao hàng: Giao hàng toàn quốc hoặc tùy chọn
BẢO HÀNH:
12 tháng theo tiêu chuẩn của Nhà sản xuất Palfinger
Liên hệ mua cẩu 6 tấn Palfinger PK 15500:
Minh Hải Auto
Cơ sở 1: Số 40 Ngô Gia Tự, Long Biên, Hà Nội.
Cơ sở 2: 138/7 Đường An Phú Đông 03, Q.12, TP HCM
Liên hệ: Mr. Dần 0934466546 hoặc 0963799890
Email: thietbiquanganh@gmail.com
Website: http://chothuexucuilu.com/xe-tai-gan-cau-gap-robot
Tìm hiểu thêm về các dòng cẩu khác:
Cẩu 3 tấn Palfinger PK 6500
Cẩu 3 tấn Palfinger PK 8500
Cẩu 5 tấn Palfinger PK 10000
Cẩu 5 tấn Palfinger PK 11002
Cẩu 6 tấn Palfinger PK 15500
Cẩu 8 tấn Palfinger PK 18500
Cẩu 10 tấn Palfinger PK 23500
Cẩu 12 tấn Palfinger PK 32080
Cẩu 14 tấn Palfinger PK 41002 MH
Cẩu 20 tấn Palfinger PK 62002 MH
Các dòng cẩu đặc biệt khác