Về nguyên lý hoạt động và mục đích sửa dụng, cả 2 loại đều sử dụng nguyên lý thủy lực căn bản giới thiệu ở trên, phục vụ nâng hạ hàng hóa, bốc xếp vật nặng,…Tuy nhiên, do cấu tạo khác nhau, nên đặc tính khác nhau, phù hợp với từng công việc cụ thể.
Về nguyên lý hoạt động và mục đích sửa dụng, cả 2 loại đều sử dụng nguyên lý thủy lực căn bản giới thiệu ở trên, phục vụ nâng hạ hàng hóa, bốc xếp vật nặng,…Tuy nhiên, do cấu tạo khác nhau, nên đặc tính khác nhau, phù hợp với từng công việc cụ thể:
So sánh cấu tạo cẩu thước và cẩu gấp:
Kết cấu cần:


Xi lanh ống lồng:


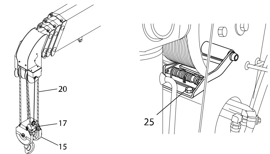
Cụm Puly móc câu:


Khả năng quay toa:
So sánh về ưu và nhược điểm giữa 2 loại cẩu
Do xuất phát từ cấu tạo khác nhau, nhiều ưu điểm của cấu này lại là yếu điểm của cẩu kia. Nhược điểm của cẩu này, lại được khắc phục hoàn toàn trên dòng cẩu kia, và trở thành ưu điểm vượt trội. Ta cùng tìm hiểu cụ thể dưới đây:
Hầu hết, trong cùng phân khúc sức nâng, cẩu thước có chiều cao và tầm với lớn hơn cẩu gấp do cấu thạo 2 thân, với cần ống lồng đặc trưng. Ngược lại, cẩu gấp khúc bị mất khả năng với do phải bù vào phần gấp khúc và các khớp nối trong kết cấu thân và cần. Tầm với lớn là 1 đặc tính tốt cho một số công việc cụ thể (như xây lắp công trình, cẩu cây cảnh, hàng hóa ở nơi xe khó tiếp cận,…). Việc ra và thu cần được thực hiện hết sức đơn giản, bằng cách điều khiển hệ thống ống lồng. Trong khi đó, cẩu gấp khúc phải sử dụng nhiều thao tác điều khiển hơn. Lúc này, cẩu thước được ưu tiên lựa chọn.
Một lưu ý nữa, do kết cẩu của cẩu thước, cần ống lồng luôn luôn hạ so song với thân xe khi di chuyển, tự trọng của cẩu được san đều trên các cầu xe hơn, vì vậy ở cùng xe cơ sở, tải trọng chở cho phép của xe cao hơn cẩu gấp. Ngược lại, cẩu robot gấp gọn phía sau cabin, tự trọng cẩu hầu như dồn lên cầu trước, dẫn đến làm mất tải cầu trước, cũng như làm mất tải trọng chở cho phép của toàn xe.
Ngược lại, khoang chứa thùng hàng, cẩu gấp khúc lại giành 1 điểm cộng, do khả năng gấp khúc và gấp gọn phía sau cabin, cẩu không ảnh hưởng đến không gian chứa hàng trên thùng. Trong khi đó cẩu thước lại chiếm 1 không gian cố định phía trên thùng xe. Trong trường hợp này, cần dài không có ý nghĩa bằng tiết kiệm không gian chứa hàng. Cẩu gấp khúc robot là lựa chọn hàng đầu.

Thêm một vấn đề lưu ý nữa, khác hàng cần cân nhắc trước khi lựa chọn đó là: lựa chọn cần thước nâng hạ nhờ tời và cụm pully câu hay lựa chọn cẩu gấp khúc cho công việc cần độ cơ động nhanh nhẹn, tốc độ nhanh, năng suất cao.
Trong khi, cẩu gấp khúc trang bị tời nâng là lựa chọn thêm và phải trả thêm phí, thì đây lại là trang bị cơ bản trên cẩu thước. Cụm pully móc câu sẽ dễ dàng vận hành và chắc chắn hơn trên cần ống lồng, do không có độ võng từ cần gấp khúc. Minh họa dưới đây cho thấy ưu điểm của cụm pully:

Khả năng cơ động đa điểm trong không gian nâng, cẩu gấp khúc là lựa chọn số 1. Các khớp nối gấp khúc giúp cần nâng và xoay đồng thời chỉ trong 1 chuyển động duy nhất. Sự kết hợp giữa nâng và gập cần (rút ngắn khổ độ bán kính nâng) trong 1 chuyển động nhẹ nhàng của cẩu gấp, giúp thợ vận hành có thể nâng hàng một cách chính xác, tinh chỉnh cao. Thêm nữa, việc thay đổi khổ độ nâng ở bất cứ góc độ nào, giúp cẩu gấp có thể nâng được vậy nặng trong không gian hẹp hoặc khó tiếp cận.

Cẩu thước ống lồng dễ dàng vượt qua và tiếp cận vật nâng tại các không gian có vật cản đứng, trong khi cẩu gấp khúc lại khó khăn trong việc này. Nhờ cụm pully móc câu, vật nặng dễ dàng được di chuyển qua hàng dào, vật cản đứng mà không cần di chuyển vị trí đứng của xe.
Lợi thế trên của cẩu thước ống lồng, đặc biệt phù hợp khai thác ở những khu vực nhiều công việc đồng thời, nơi có kết cấu cao tầng, vật tư, thiết bị cần được đưa lên cao, phục vụ ngành xây lắp công trình nói riêng và xây dựng nói chung.


Ngược lại, trong trường hợp, người khai thác chỉ dùng cẩu cho công việc bốc xếp hoặc hạ hàng từ thùng xe, không gian khai thác thoáng, yêu cầu nâng hàng nhanh chóng, năng suất cao, xe hầu như không phải di chuyển, lúc này, cẩu gấp khúc là lựa chọn hàng đầu. Nhờ kết cấu khớp nối ngón tay, thợ vận hành có kỹ năng có thể điều khiển cần gấp khúc di chuyển đồng thời nhiều thao tác trong cùng 1 lúc, rút ngắn thời gian nâng. Ngoài ra, cẩu gấp khúc có khả năng tinh chỉnh cao, giúp sắp xếp hàng hóa lên xe chính xác hơn.
Tổng hợp lại, ta có bảng so sánh tương quan ưu nhược điểm của hai loại cần cầu nêu trên. Tùy vào điều kiện khai thác, yêu cầu công việc, khách hàng có thể căn cứ vào bảng so sánh này mà lựa chọn cẩu nào?

Về lý thuyết, mọi thị trường đều có những công việc đa dạng, cần sử dụng thiết bị nâng. Có nhóm phù hợp cẩu thước, nhóm khác lại phù hợp cẩu gấp. Nhưng thực tế cho thấy, thị trường châu Á yêu chọn cẩu thước ống lồng, trong khi đó, thị trường Âu/Mỹ sử dụng cẩu gấp nhiều hơn. Tại sao vậy?
Có rất nhiều nguyên nhân, nhưng lý do căn bản nhất đó là: châu Á hầu hết là các nước đang phát triển, ngành xây dựng, đặc biệt là xây dựng hạ tầng đang thịnh hành và những ngành phụ trợ của nó, cẩu thước đặc biệt phù hợp. Trong khi, các nước công nghiệp phát triển cao nằm hầu hết ở Âu/Mỹ, cơ sở hạ tầng đã hoàn thiện, thiết bị nâng hạ phục vụ chủ yếu cho sản xuất công nghiệp năng suất cao, và vì thế, cẩu gấp khúc được lựa chọn.
Kể đến lý do kéo theo nữa, đó là văn hóa và thói quen sử dụng. Khi loại cẩu nào có nhiều người dùng, vô hình làm ảnh hưởng đến quyết định lựa chọn của người mua sau. Thói quen này cần phải thay đổi, bởi việc lựa chọn chủng loại cẩu phụ thuộc vào yêu cầu công việc như đã nói ở trên mới đem lại hiệu quả.
Như vậy, bài viết đã đi xuyên suốt những câu hỏi đặt ra. Hy vọng đã giải tỏa phần nào những thắc mắc, so sánh hơn thua giữa cẩu thước và cẩu gấp khúc của mọi người. Tuy nhiên, để hiểu sâu hơn, giúp mọi người lựa chọn chính xác loại cẩu nào mình cần, rất mong có thêm ý kiến đóng góp từ các bạn đọc.
Trân trọng.